Pagina iniziale Successivo

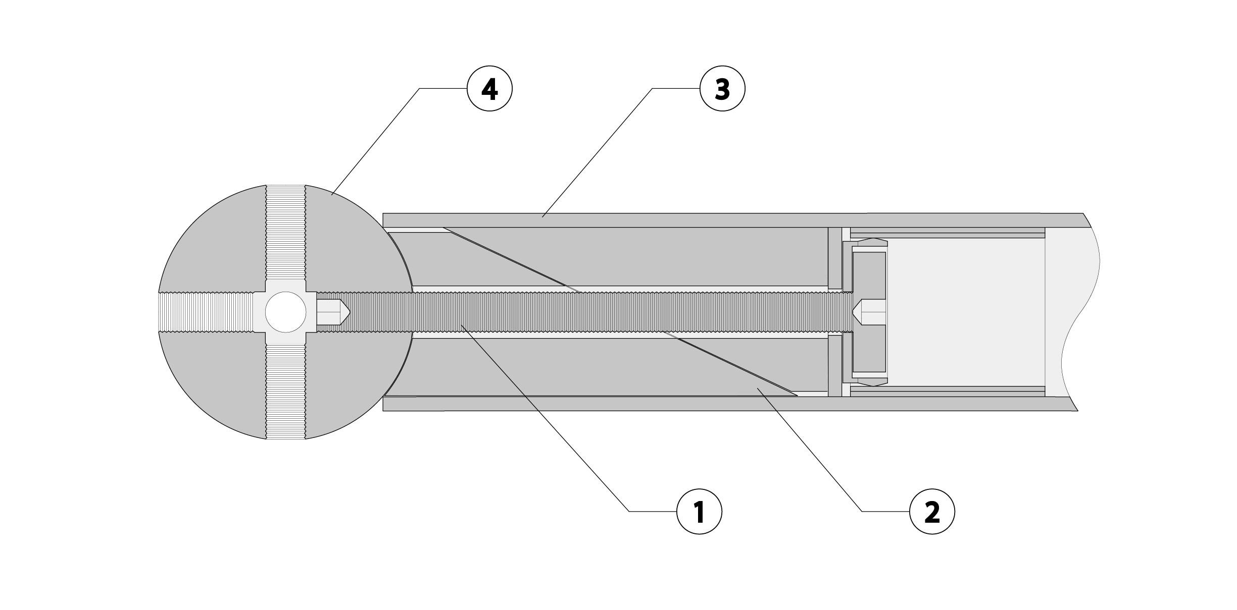
Sistema MERO

Articolo tecnico

Sistemi reticolari nodali

Costruzione del boom economico

nodo MERO disegno tecnico

Riassunto dell'articolo (scarica l'articolo completo FR) :
A partire dal periodo del miracolo economico, l’architettura conosce una svolta importante, di cui i sistemi nodali reticolari sono un simbolo caratteristico. Sostenuti dall’industrializzazione, dalla standardizzazione e dai grandi bisogni di ricostruzione, questi sistemi permettono di costruire rapidamente, a basso costo, con manodopera poco qualificata. Il sistema Mero, inventato da Max Mengeringhausen, diventa emblematico di questo approccio grazie ai suoi nodi sferici e aste metalliche modulari. Altre varianti come USM Haller (arredamento) o Sphérobat (strutture leggere) mostrano un’adattabilità a diverse scale e usi. Queste innovazioni illustrano un cambiamento di paradigma architettonico verso la razionalizzazione, la prefabbricazione e la flessibilità tecnica, anche se oggi la loro pertinenza diminuisce di fronte a esigenze più contestuali.

Mero assonometria Sphérobat assonometria USM Haller assonometria Mero sezione Sphérobat sezione USM Haller sezione